武芯烧录器支持瑞萨RENESAS R8C/14、R8C/15系列
发布时间:2025-12-19 13:58:31
瑞萨R8C/Tiny系列单片机是一款专为小型化应用设计的高性能微控制器。凭借其小体积与便捷的特性,已广泛应用于各类嵌入式系统。R8C/14群、15群作为其中的家族成员,它们都延续了该系列高稳定性与低功耗的核心优势,主要用于电器家用设备、办公设备、住宅设备(如传感器与安全系统)、一般工业设备、音响等场景中。
R8C/14群、15群微控制器(MCU)均采用高性能硅栅CMOS工艺制造,并封装于20管脚塑模LSSOP中。它们搭载R8C/Tiny系列CPU内核,拥有1M字节的地址空间,不仅能够高速执行指令。还支持复杂指令操作,具有高指令效率,可适配长期运行的设备。此外,R8C/14 与 R8C/15 群的根本区别在于存储配置,R8C/15群 嵌入了2 块1KB 的数据闪存ROM,而 R8C/14 群则无此配置。除上述存储差异外,两者的外设功能完全相同。
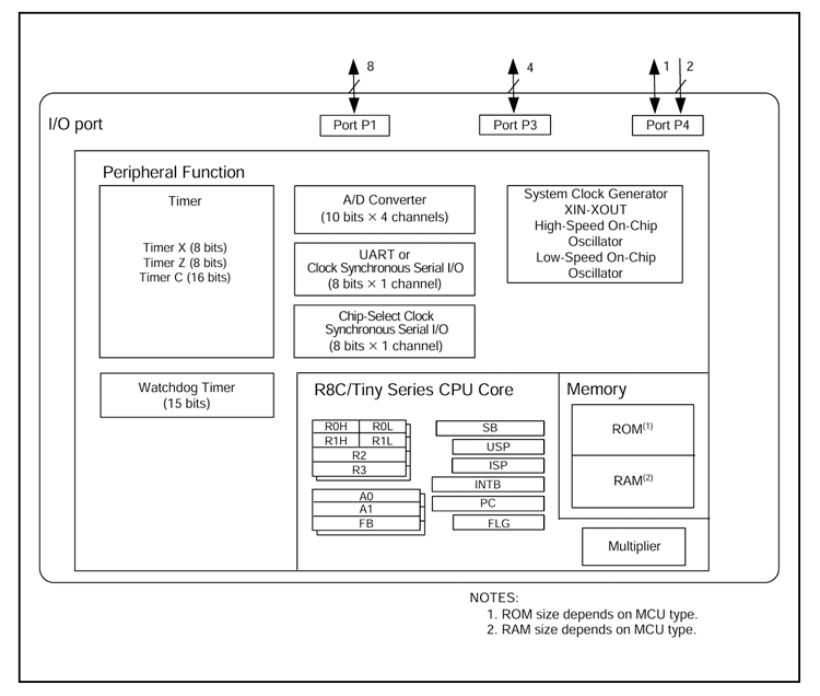
CPU:89条基本指令、1M字节地址空间;
接口:UART或时钟同步串行I/O、A/D转换器;
中断:内部9个中断源、外部4个中断源、软件4个中断源;
定时器:定时器X(8位)、定时器Z(8位)、定时器C(8位);
看门狗:15位x1分频器、可选择复位启动功能;
时钟:XIN时钟生成电路、内部振荡器(高速、低速);
包含:振动停止检测功能、电压检测电路、上电复位电路;
工作环境温度:-20~85°C 、-40~85°C (D版);
封装:20管脚塑模LSSOP;

内部框图
武芯科技作为通用型芯片烧录器制造商,专注于IC烧录、测试领域。在持续优化更新烧录软件的同时,也在积极扩充和兼容各大厂商的芯片型号的烧录。ET9800烧录器支持一拖八烧录,同时提供联机、脱机等工作模式,可全方位满足瑞萨R8C/Tiny全系列芯片的裸片离线烧录与在板烧录的量产需求。

ET9800是一款支持联机、脱机的量产型高速烧录器。采用高性能ARM+FPGA的硬件架构设计,编程带宽高达1.6Gb/s;内置128GB eMMC母头模块,能高效提升eMMC母片拷贝的量产效率;配备4.3英寸LCD触摸屏,优化脱机操作的交互体验;支持“一拖八”并行烧录,可实现复杂多样的烧录需求;且设备集成多种丰富接口,涵盖100/1000M以太网、SD卡、USB2.0 Device、RS-232串口、电源开关及接地端子等,灵活适配多元应用场景。同时提供上位机与下位机软件,支持自动化场景定制,适配智能化产线需求;支持各大厂商各种封装的MCU、eMMC、SPI、Nor/Nand flash、Parallel Nor/Nand flash、EEPROM及DSP等类型芯片,烧写稳定、高效。为客户提供创新的多场景芯片(IC)烧录解决方案。