武芯烧录器支持瑞萨RENESAS R8C/2K、R8C/2L系列
发布时间:2025-12-25 16:43:01
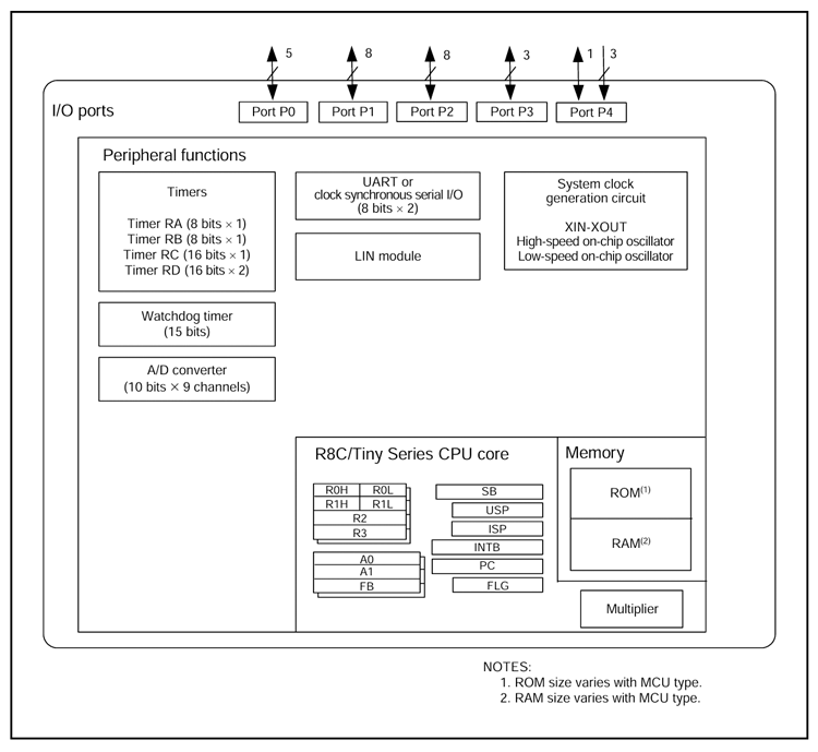
瑞萨R8C/2K,R8C/2L系列单片微控制器(MCU),内嵌 R8C/Tiny 系列 CPU 核心,并集成乘法器模块,可高效完成各类运算任务。具备1MB的地址空间,支持复杂指令集,从而实现高效的系统运行性能。且内部集成了多功能定时器、串行接口等多种外设功能,有助于减少组件数量,优化系统内部架构。
瑞萨R8C/2K,R8C/2L群作为低功耗MCU系列,不仅支持工作模式允许额外的电源控制。在抗干扰设计方面,采用增强型电磁兼容方案,既降低自身电磁噪声的发射,又提升对外部电磁干扰(EMI)的抵御能力。在数据闪存配置上,R8C/2L 系列拥有片上数据闪存(1 KB × 2 块),适合需存储运行日志的小型设备或需保存校准参数的传感器、便携电子设备,办公设备等;而R8C/2K 系列无配置此项,则更适配无需参数存储的传感器以及基础家电按键控制等简易控制场景。
主要特性:
CPU:89条基本指令、1M字节地址空间、32位乘法器;
储存器:ROM、RAM;
输入/输出接口:25个,电流驱动接口8个;
时钟:XIN时钟生产电路、内部振荡器(高速、低速)、XIN 时钟振荡停止检测功能、分频电路、低功耗模式:标准运行模式(高速时钟、低速时钟、高速(低速)片上振荡器)、等待模式、停止模式;
中断:外部4个中断源、内部15个中断源;
看门狗:15位x1分频器、可选择复位启动功能;
定时器:定时器RA(8位)、定时器RB(8位)、定时器RC(16位)、定时器RD(16位x2);
接口:UARTx2、A/D转换器(10位x9通道)、LIN模块;
工作环境温度:-20~85°C(N版) 、-40~85°C(D版)、-20~105°C(Y版);
封装:32管脚塑模LQFP;

内部框图
武芯科技作为通用型芯片烧录器制造商,专注于IC烧录、测试领域。在持续优化更新烧录软件的同时,也在积极扩充和兼容各大厂商的芯片型号的烧录。ET9800烧录器支持一拖八烧录,同时提供联机、脱机等工作模式,可全方位满足瑞萨R8C/Tiny全系列芯片的裸片离线烧录与在板烧录的量产需求。

ET9800是一款支持联机、脱机的量产型高速烧录器。采用高性能ARM+FPGA的硬件架构设计,编程带宽高达1.6Gb/s;内置128GB eMMC母头模块,能高效提升eMMC母片拷贝的量产效率;配备4.3英寸LCD触摸屏,优化脱机操作的交互体验;支持“一拖八”并行烧录,可实现复杂多样的烧录需求;且设备集成多种丰富接口,涵盖100/1000M以太网、SD卡、USB2.0 Device、RS-232串口、电源开关及接地端子等,灵活适配多元应用场景。同时提供上位机与下位机软件,支持自动化场景定制,适配智能化产线需求;支持各大厂商各种封装的MCU、eMMC、SPI、Nor/Nand flash、Parallel Nor/Nand flash、EEPROM及DSP等类型芯片,烧写稳定、高效。为客户提供创新的多场景芯片(IC)烧录解决方案。