武芯烧录器支持德州仪器(TI) MSP430FR413x芯片编程烧录
发布时间:2026-02-05 10:08:15
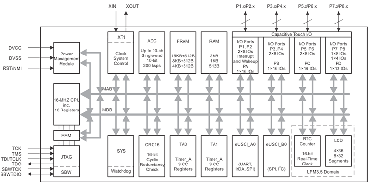
MSP430FR413x系列是德州仪器TI推出的一款支持低成本LCD应用的超低功耗微控制器,广泛适用于遥控器、恒温器、智能仪表、血糖监测仪及血压监测仪等场景。其内部集成10位ADC,可显著提升此类应用的信号采集与处理性能。MCU 搭载功能强大的16位RISC CPU,配合16位寄存器与常数发生器,能够实现极高的编码效率;内置的数控振荡器(DCO)可在不到10µs的时间内将器件从低功耗模式快速唤醒至活动模式。其架构结合多种低功耗运行模式,是延长便携式测量设备电池寿命的最优选择。
作为 MSP430™ 系列微控制器平台的一员,该系列将独特的嵌入式铁电随机存取存储器(FRAM)与全面的超低功耗系统架构深度融合,使设计人员能够在降低能耗的同时提升系统性能。FRAM 技术兼具 RAM 的低功耗快速写入、灵活性及高耐久性与闪存的非易失性,非常适合频繁数据更新与低功耗存储的应用需求。此外,MSP430FR41x MCU 由完善的软硬件生态系统提供支持,配套提供参考设计与代码示例,可帮助用户快速启动开发。
主要特性
嵌入式微控制器:频率高达 16MHz 的 16 位精简指令集、1.8V ~ 3.6V 的宽电源电压范围
经优化的低功耗模式(3V):
工作模式:126µA/MHz
待机模式:<1µA,实时时钟 (RTC) 计数器和液晶显示器 (LCD) 处于工作状态
关断 (LPM4.5):15nA
高性能模拟:10 通道 10 位模数转换器 (ADC)、低功耗 LCD 驱动器、低功耗铁电 RAM (FRAM)、
智能数字外设:红外调制逻辑、两个 16 位定时器,每个定时器有 3 个捕捉/比较寄存器 (Timer_A3),一个仅用作计数器的 16 位 RTC 计数器,16 位循环冗余校验器 (CRC)
增强型串行通信:增强型 USCI A (eUSCI_A) 支持 UART、IrDA 和 SPI、增强型 USCI B (eUSCI_B) 支持 SPI 和 I2C
时钟系统 (CS):片上 32kHz RC 振荡器 (REFO)、带有锁频环 (FLL) 的片上 16MHz 数控振荡器 (DCO)、片上超低频 10kHz 振荡器 (VLO)、片上高频调制振荡器时钟 (MODCLK)、外部 32kHz 晶振 (XT1)、可编程 MCLK 预分频器(1 至 128)、通过可编程预分频器(1、2、4 或 8)从 MCLK 获得的 SMCLK
通用输入/输出和引脚功能:60 个 I/O(64 引脚封装)、16 个中断引脚(P1 和 P2)可以将 MCU 从 LPM 唤醒、所有 I/O 均为电容式触摸 I/O
系列成员包括:
MSP430FR4133:15KB 程序 FRAM + 512B 信息 FRAM + 2KB RAM
MSP430FR4132:8KB 程序 FRAM + 512B 信息 FRAM + 1KB RAM
MSP430FR4131:4KB 程序 FRAM + 512B 信息 FRAM + 512B RAM
封装选项:64 引脚:LQFP (PM)、56 引脚:TSSOP (G56)、48 引脚:TSSOP (G48)

功能框图
武芯科技作为通用型芯片烧录器制造商,专注于IC烧录、测试领域。在持续优化更新烧录软件的同时,也在积极扩充和兼容各大厂商的芯片型号的烧录。ET9800烧录器支持一拖八烧录,同时提供联机、脱机等工作模式,可全方位满足德州仪器(TI)MSP430FR413x系列芯片的裸片离线烧录与在板烧录的量产需求。

ET9800是一款支持联机、脱机的量产型高速烧录器。采用高性能ARM+FPGA的硬件架构设计,编程带宽高达1.6Gb/s;内置128GB eMMC母头模块,能高效提升eMMC母片拷贝的量产效率;配备4.3英寸LCD触摸屏,优化脱机操作的交互体验;支持“一拖八”并行烧录,可实现复杂多样的烧录需求;且设备集成多种丰富接口,涵盖100/1000M以太网、SD卡、USB2.0 Device、RS-232串口、电源开关及接地端子等,灵活适配多元应用场景。同时提供上位机与下位机软件,支持自动化场景定制,适配智能化产线需求;支持各大厂商各种封装的MCU、eMMC、SPI、Nor/Nand flash、Parallel Nor/Nand flash、EEPROM及DSP等类型芯片,烧写稳定、高效。为客户提供创新的多场景芯片(IC)烧录解决方案。