摇钱树10码期期必中
语言版本: 中文 English
摇钱树10码期期必中
摇钱树10码期期必中
摇钱树10码期期必中
摇钱树10码期期必中
摇钱树10码期期必中
摇钱树10码期期必中

武芯烧录器支持NXP MC9S08PA4 系列芯片编程烧录

发布时间:2026-04-03 10:27:43

MC9S08PA4系列是NXP(恩智浦)基于8位S08内核推出的一款微控制器,旨在以高集成度简化系统设计并降低整体成本。该系列MCU集成 EEPROM、ADC、模拟比较器、电机控制专用模块以及灵活定时器等功能,非常适合对成本和空间敏感的应用场景。在存储与非易失性数据管理方面,该系列提供 4 KB 的 RAM 以及片上 EEPROM,其中 EEPROM 支持高达 50 万至 100 万次的写入/擦除操作,满足频繁参数存储与日志记录的耐久性需求。


在外设配置方面,MC9S08PA4 集成了丰富的功能模块,主要包括灵活的定时器资源实时计数器(RTC)丰富的通信接口系统可靠性模块在可靠性与环境适应性方面,S08PA 系列具备优异的 EMC(电磁兼容性)与 ESD(静电放电)性能,可满足工业控制及恶劣环境下的用户界面应用需求,并符合家电安全标准 IEC 60730。此外,该系列属于可扩展且引脚兼容的 MCU 家族,能够复用现有的 S08 内核、IP 核及开发工具,帮助工程师从现有的 8 位 S08 产品平滑迁移,显著缩短产品开发周期。


主要特性:

提高了闪存/RAM比(PT60为4 KB RAM)

片上EEPROM,可进行500K~1M次写入/擦除操作

64引脚带滤波功能的最多57路通用IO

8个引脚带20 mA灌电流驱动功能

两个引脚带真漏极开路

PT/PA级上高达12 位,PL级上高达10位分辨率的线性逐次逼近算法

最多16通道单端外部模拟输入

12位、10位和8位模式,深达八层的结果FIFO

单次或连续转换(单次转换后自动返回到空闲状态)

6通道、+ 2通道、+ 2-通道Flex定时器:2 x MTIM

实时计数器

3 x SCI,2 x SPI,I2C

增强型看门狗和可编程CRC

高精度内部时钟


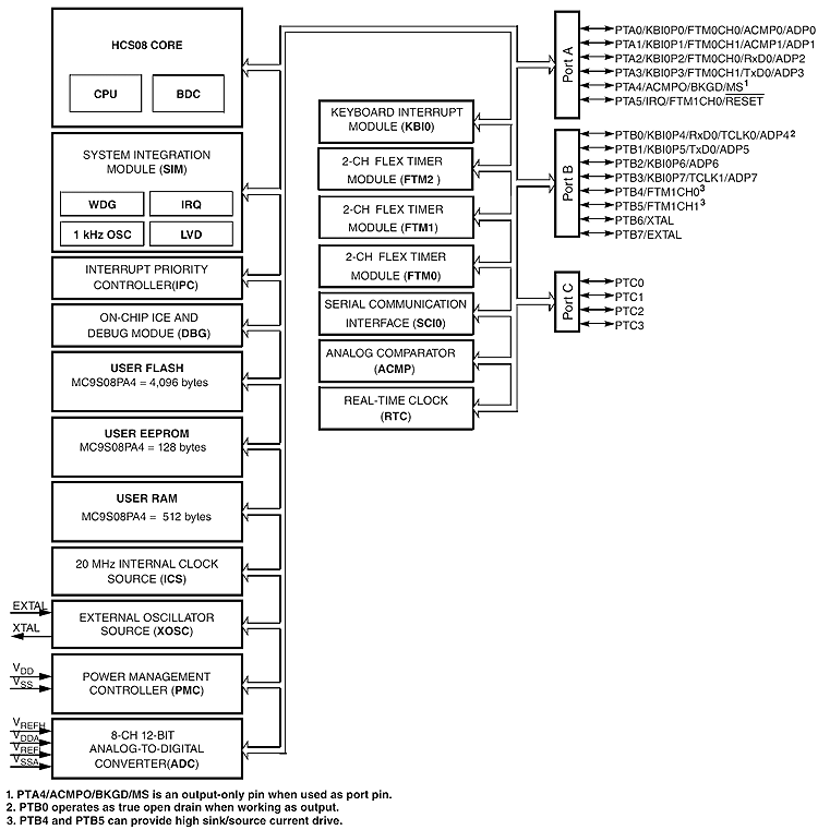
MC9S08PA4 系列.png

内部框图

武芯科技作为通用型芯片烧录器制造商,专注于IC烧录、测试领域。在持续优化更新烧录软件的同时,也在积极扩充和兼容各大厂商的芯片型号的烧录。ET9800烧录器支持一拖八烧录,同时提供联机、脱机等工作模式,可全方位满足NXP(恩智浦)MC9S08PA4 系列芯片的裸片离线烧录与在板烧录的量产需求。

网页尺寸.png

ET9800是一款支持联机、脱机的量产型高速烧录器。采用高性能ARM+FPGA的硬件架构设计,编程带宽高达1.6Gb/s;内置128GB eMMC母头模块,能高效提升eMMC母片拷贝的量产效率;配备4.3英寸LCD触摸屏,优化脱机操作的交互体验;支持“一拖八”并行烧录,可实现复杂多样的烧录需求;且设备集成多种丰富接口,涵盖100/1000M以太网、SD卡、USB2.0 Device、RS-232串口、电源开关及接地端子等,灵活适配多元应用场景。同时提供上位机与下位机软件,支持自动化场景定制,适配智能化产线需求;支持各大厂商各种封装的MCU、eMMC、SPI、Nor/Nand flash、Parallel Nor/Nand flash、EEPROM及DSP等类型芯片,烧写稳定、高效。为客户提供创新的多场景芯片(IC)烧录解决方案。