摇钱树10码期期必中
语言版本: 中文 English
摇钱树10码期期必中
摇钱树10码期期必中
摇钱树10码期期必中
摇钱树10码期期必中
摇钱树10码期期必中
摇钱树10码期期必中

武芯烧录器支持NXP MC9S08QD4系列芯片编程烧录

发布时间:2026-04-15 17:40:18

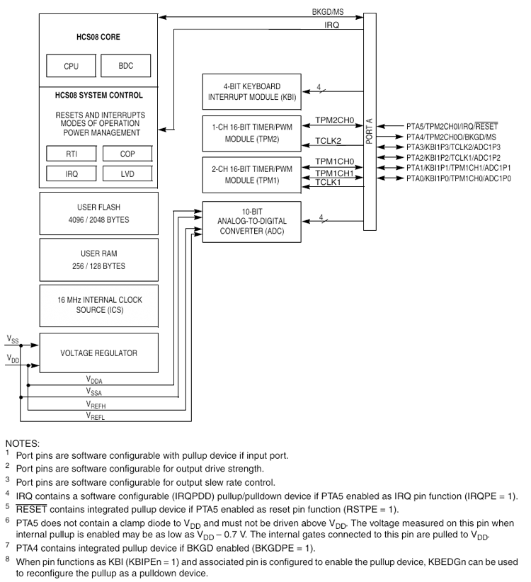
MC9S08QD4系列是恩智浦(NXP)的S08 8位微控制器架构中最低端的成员,在众多领域都能大显身手。这款芯片非常适合多种低端8 位 MCU 的应用场景,在汽车和工业领域更是备受青睐。它集成了第三代闪存与内存,它能够在应用内通过单一电源,在整个工作电压和温度范围内重新编程,可通过自我升级,极大地提高了芯片使用的灵活性和适应性。它还配备了四个通用输入 / 输出(GPIO)线路,每个线路都能输出 10 mA 的电流,而整个封装最大可承受 100 毫安,为外接设备提供了稳定的电力支持。


再看看它那丰富的模拟外设,其中包含4 通道、10 位 ADC,还具备自动比较功能,无论是温度传感器的精准测量,还是异步时钟源的稳定供应,亦或是单斜率 APC 和电阻、模拟输入 / 传感器等的应用,都能轻松应对。灵活的时钟选项,如同为芯片安装了一个 “智能时钟调节器”,让芯片能在不同的工作场景下保持最佳状态。此外,还有两个可编程的 16 位定时器 / PWM(TPM)模块,为各种定时和脉宽调制任务提供了有力保障。值得一提的是,它还自带系统保护方案,时刻守护着芯片的稳定运行。正因为这些出色的特性,MC9S08QD4 系列芯片广泛应用于工业控制、汽车电子、消费电子等众多场景中。


主要特性:

16 MHz HCS08 中央处理器 (CPU)

闪存4KB RAM 256字节

节能模式

内部时钟源模块(ICS)

看门狗计算机操作正常(COP)复位

低电压检测

带复位的非法操作码检测

ADC 4通道、10位模拟到数字转换器,具有自动比较功能

TIM1 2 通道定时器/脉宽调制器

TIM2 1通道定时器/脉宽调制器

KBI 4针键盘中断模块

四个通用输入/ 输出(GPIO)线路

开发支持

8引脚SOIC封装、8引脚PDIP封装

所有封装选项均符合RoHS标准

MC9S08QD4系列.png

内部框图

武芯科技作为通用型芯片烧录器制造商,专注于IC烧录、测试领域。在持续优化更新烧录软件的同时,也在积极扩充和兼容各大厂商的芯片型号的烧录。ET9800烧录器支持一拖八烧录,同时提供联机、脱机等工作模式,可全方位满足NXP(恩智浦)MC9S08QD4系列芯片的裸片离线烧录与在板烧录的量产需求。

网页尺寸.png

ET9800是一款支持联机、脱机的量产型高速烧录器。采用高性能ARM+FPGA的硬件架构设计,编程带宽高达1.6Gb/s;内置128GB eMMC母头模块,能高效提升eMMC母片拷贝的量产效率;配备4.3英寸LCD触摸屏,优化脱机操作的交互体验;支持“一拖八”并行烧录,可实现复杂多样的烧录需求;且设备集成多种丰富接口,涵盖100/1000M以太网、SD卡、USB2.0 Device、RS-232串口、电源开关及接地端子等,灵活适配多元应用场景。同时提供上位机与下位机软件,支持自动化场景定制,适配智能化产线需求;支持各大厂商各种封装的MCU、eMMC、SPI、Nor/Nand flash、Parallel Nor/Nand flash、EEPROM及DSP等类型芯片,烧写稳定、高效。为客户提供创新的多场景芯片(IC)烧录解决方案。